
销售热线:0577-67980810
联 系 人:浙江扬子江泵业有限公司
传 真: 0577-67986930
邮政编码:325105

离心泵

一、概述

(二)离心泵的气蚀


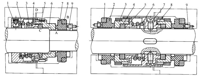
(3)单级双吸离心泵扬程范围为10—140m,流量范围是90—28600m3/h。按轴的安装位置不同,分卧式和立式两种结构。图12—3为卧式S型单级双吸离心泵结构。这种泵实际上相当于两个B型泵叶轮组合而成,液体从叶轮左、右两侧进入叶轮,流量大。转子为两端支承,泵壳为水平副分的蜗壳形。两个呈半螺旋形的吸液室与泵壳一起为中开式结构,共用一根吸液管,吸、排液管均布在下半个泵壳的两侧,检查泵时,不必拆动与泵相连接的管路。由于泵壳和吸液室均为蜗壳形,为了在灌泵时能将泵内气体排出,在泵壳和吸液室的高点处分别开有螺孔,灌泵完毕用螺栓封住。泵的轴封装置多采用填料密封,填料函中设置水封圈,用细管将压液室内的液体引入其中以冷却并润滑填料。轴向力自身平衡,不必设置轴向力平衡装置。在相同流量下双吸泵比单吸泵的抗汽蚀性能要好。
2按叶轮数目分:


(1)、低压泵:扬程≤20m;
(2)、中压泵:扬程≥20-100m;
(3)、高压泵:扬程≥100m ;
泵可分为:
(1)清水泵;
(2)泥浆泵;
(3)酸泵;
(4)碱泵;
(5)油泵;
(6)砂泵;
(7)低温泵;
(8)高温泵;
(9)屏蔽泵等。
(四)、离心泵型号及结构
表1-1离心泵基本类型代号
|
型号 |
泵 的 名称 |
型号 |
泵 的 名称 |
|
IS B或BA D或DA DL Y YG F P |
ISO3国际标准型单级单吸离心水泵 单级单吸悬臂式离心清水泵 多级分段式离心泵 多级立式管形离心泵 离心式油泵 离心式管道油泵 耐腐蚀泵 屏蔽式离心泵 |
S或sh DS KD KDS Z FY W WX |
单级双吸式离心水泵 多级分段式首级为双吸叶轮 多级中开式离心泵 多级中开式首级为双吸叶轮 自吸式离心泵 耐腐蚀液下式离心泵 一般旋涡泵 旋涡离心泵
|

(1